Matronics Email Lists Forum Index Matronics Email Lists
Web Forum Interface to the Matronics Email Lists
 
 Get Email Distribution Too!Get Email Distribution Too!    FAQFAQ   SearchSearch   MemberlistMemberlist   UsergroupsUsergroups   RegisterRegister 
 ProfileProfile   Log in to check your private messagesLog in to check your private messages   Log inLog in 

Making an LRI probe

 
Post new topic   Reply to topic    Matronics Email Lists Forum Index -> Zenith-List
View previous topic :: View next topic  
Author Message
rlalonde



Joined: 20 Nov 2006
Posts: 43

PostPosted: Tue Mar 20, 2007 3:10 pm    Post subject: Making an LRI probe Reply with quote

Hi
Any suggestions on how to make the probe? Drilling 5 7/8 (quite deep)into
the aluminum AND keeping it straight!!
Any suggestions??
Is this a job for a machine shop only?
Really anxious to try this thing out!!!!
Ron
Quote:


_________________________________________________________________
Have Some Fun Out Of The Sun This March Break
http://local.live.com/?mkt=en-ca/?v &cid=A6D6BDB4586E357F!142


- The Matronics Zenith-List Email Forum -
 

Use the List Feature Navigator to browse the many List utilities available such as the Email Subscriptions page, Archive Search & Download, 7-Day Browse, Chat, FAQ, Photoshare, and much more:

http://www.matronics.com/Navigator?Zenith-List
Back to top
View user's profile Send private message
secatur



Joined: 02 Nov 2006
Posts: 50
Location: New Zealand

PostPosted: Tue Mar 20, 2007 3:27 pm    Post subject: Re: Making an LRI probe Reply with quote

Just wondering if it is possible to make the LRI probe out of Aluminiun Tubing ? (Like the Pitot tube only 2 tubes strapped together at proper distances etc.)

Anyone , any ideas ?

Steve


- The Matronics Zenith-List Email Forum -
 

Use the List Feature Navigator to browse the many List utilities available such as the Email Subscriptions page, Archive Search & Download, 7-Day Browse, Chat, FAQ, Photoshare, and much more:

http://www.matronics.com/Navigator?Zenith-List
Back to top
View user's profile Send private message
secatur



Joined: 02 Nov 2006
Posts: 50
Location: New Zealand

PostPosted: Tue Mar 20, 2007 4:05 pm    Post subject: Re: Making an LRI probe Reply with quote

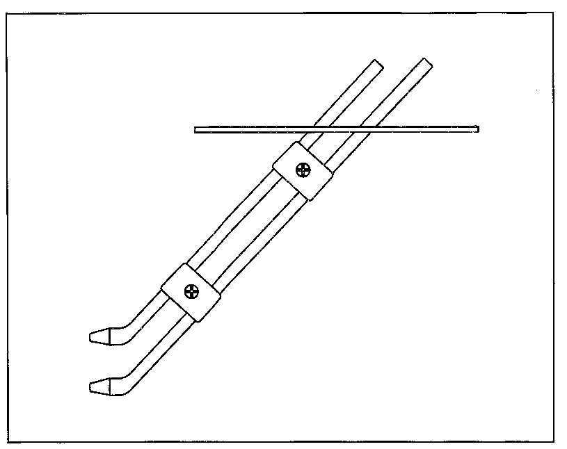
Sorta like this ?

- The Matronics Zenith-List Email Forum -
 

Use the List Feature Navigator to browse the many List utilities available such as the Email Subscriptions page, Archive Search & Download, 7-Day Browse, Chat, FAQ, Photoshare, and much more:

http://www.matronics.com/Navigator?Zenith-List



scan0002.bmp
 Description:
 Filesize:  65.67 KB
 Viewed:  509 Time(s)

scan0002.bmp


Back to top
View user's profile Send private message
p.mulwitz(at)worldnet.att
Guest





PostPosted: Tue Mar 20, 2007 4:26 pm    Post subject: Making an LRI probe Reply with quote

Hi Steve,

I suppose it would be possible to redesign the LRI probe, but I don't
know how you plan to make it work correctly. I looked at my probe
for a while and learned (I think) that the critical part of the probe
is the ridge formed by the leading corner of metal. It is this
structure that divides the airflow into two parts for sampling at the
two input holes.

The tube design would be OK for conducting the pressure to the gauge,
but you still need a way to get the differential pressure sample from
the airflow.

I don't think it is all that hard to drill the holes in the solid
aluminum as shown in the LRI drawing. I did it in an hour or two
with a drill press and hand held drill. I don't remember what kind
of drill bits I used, but it might have included some of those 6"
"Aircraft" drills.

Good luck,

Paul
XL fuselage
At 03:27 PM 3/20/2007, you wrote:
Quote:


Just wonderinf if it is possible to make the LRI probe out of
Aluminiun Tubing ? (Like the Pitot tube only 2 tubes strapped
together at proper distances etc.)

Anyone , any ideas ?

Steve


Read this topic online here:

http://forums.matronics.com/viewtopic.php?p=101976#101976


---------------------------------------------
Paul Mulwitz
32013 NE Dial Road
Camas, WA 98607
---------------------------------------------


- The Matronics Zenith-List Email Forum -
 

Use the List Feature Navigator to browse the many List utilities available such as the Email Subscriptions page, Archive Search & Download, 7-Day Browse, Chat, FAQ, Photoshare, and much more:

http://www.matronics.com/Navigator?Zenith-List
Back to top
secatur



Joined: 02 Nov 2006
Posts: 50
Location: New Zealand

PostPosted: Tue Mar 20, 2007 5:00 pm    Post subject: Re: Making an LRI probe Reply with quote

Hi Paul,
I don't think it is all that hard to drill your design either, and if you are correct about the differential pressure bit, you are probably right about a lot of stuffing around to get something that works correctly.

However, I'm sure it can be made to work, and as I have an "Enigma" EFIS that has the LRI/AOA Gauge built in I'm gonna experiment a bit with it. ('Cos I'm like that! LOL!)

Cheers,
Steve


- The Matronics Zenith-List Email Forum -
 

Use the List Feature Navigator to browse the many List utilities available such as the Email Subscriptions page, Archive Search & Download, 7-Day Browse, Chat, FAQ, Photoshare, and much more:

http://www.matronics.com/Navigator?Zenith-List
Back to top
View user's profile Send private message
paulrod36(at)msn.com
Guest





PostPosted: Wed Mar 21, 2007 2:39 pm    Post subject: Making an LRI probe Reply with quote

<?xml:namespace prefix="v" /><?xml:namespace prefix="o" /><![endif]--> Re the "sorta like this", illustration, I also made a lot of aluminum shavings, trying to properly drill the *&^%$ probe. I think, though, that the magic comes from the differential pressure generated by the square nose of the probe, with the inlets on upper and lower sides of the corner of the block of aluminum. I put mine on the shelf for a while, but I plan to make a probe equivalent to my longest drill's flutes, and then mount it with tubes held rigidly. May not work, but worth a try.

Paul Rodriguez
601XL/Corvair
[quote] ---


- The Matronics Zenith-List Email Forum -
 

Use the List Feature Navigator to browse the many List utilities available such as the Email Subscriptions page, Archive Search & Download, 7-Day Browse, Chat, FAQ, Photoshare, and much more:

http://www.matronics.com/Navigator?Zenith-List
Back to top
taffy0687(at)yahoo.com
Guest





PostPosted: Wed Mar 21, 2007 3:24 pm    Post subject: Making an LRI probe Reply with quote

I am going to drill mine from each end, than weld one end closed. A
Fritz

paulrod36(at)msn.com wrote:
[quote] <?xml:namespace prefix="v" /><?xml:namespace prefix="o" /><![endif]--> Re the "sorta like this", illustration, I also made a lot of aluminum shavings, trying to properly drill the *&^%$ probe. I think, though, that the magic comes from the differential pressure generated by the square nose of the probe, with the inlets on upper and lower sides of the corner of the block of aluminum. I put mine on the shelf for a while, but I plan to make a probe equivalent to my longest drill's flutes, and then mount it with tubes held rigidly. May not work, but worth a try.

Paul Rodriguez
601XL/Corvair
[quote] ---


- The Matronics Zenith-List Email Forum -
 

Use the List Feature Navigator to browse the many List utilities available such as the Email Subscriptions page, Archive Search & Download, 7-Day Browse, Chat, FAQ, Photoshare, and much more:

http://www.matronics.com/Navigator?Zenith-List
Back to top
rjscep(at)yahoo.com
Guest





PostPosted: Wed Mar 21, 2007 8:50 pm    Post subject: Making an LRI probe Reply with quote

Quote:
Greetings. I drilled a solid piece of aluminum like
the drawing said, however I did find that the 1/8
hole drilled out for the 3/16 hole was in the wrong
place. The dim. says drill it a half inch from the
bottom and it doesn't come out in the right place,
so I made it 3/4 of an inch from the bottom. I used
a #60 drill bit for a starter and drilled it
straight first and then changed the angle to get my
45 degree hole. I also got brass fittings, they are
a better fit on the bar. As far as making the face
on the guage is concerned, I hand painted the
markings red, yellow and green. I used ordinary
hobby paints and I masked out the positions with
contact paper, using an exacto knife I peeled away >
each part of the paper and painted that area,

Quote:
letting it dry and then proceeded with the other
places. If yoiu used the markings on the original
plate it helps a lot to draw out the areas to be
painted and a French curve to get the proper arc too
Do not archive
--- paulrod36(at)msn.com wrote:


[quote] Re the "sorta like this", illustration, I also made
a lot of aluminum shavings, trying to properly drill
the *&^%$ probe. I think, though, that the magic
comes from the differential pressure generated by
the square nose of the probe, with the inlets on
upper and lower sides of the corner of the block of
aluminum. I put mine on the shelf for a while, but I
plan to make a probe equivalent to my longest
drill's flutes, and then mount it with tubes held
rigidly. May not work, but worth a try.

Paul Rodriguez
601XL/Corvair
---


- The Matronics Zenith-List Email Forum -
 

Use the List Feature Navigator to browse the many List utilities available such as the Email Subscriptions page, Archive Search & Download, 7-Day Browse, Chat, FAQ, Photoshare, and much more:

http://www.matronics.com/Navigator?Zenith-List
Back to top
cgbrt(at)mondenet.com
Guest





PostPosted: Fri Mar 23, 2007 8:27 pm    Post subject: Making an LRI probe Reply with quote

Yes, Bend the lower one 30 degrees down; top as normal pitot.
Carl
701


- The Matronics Zenith-List Email Forum -
 

Use the List Feature Navigator to browse the many List utilities available such as the Email Subscriptions page, Archive Search & Download, 7-Day Browse, Chat, FAQ, Photoshare, and much more:

http://www.matronics.com/Navigator?Zenith-List
Back to top
Display posts from previous:   
Post new topic   Reply to topic    Matronics Email Lists Forum Index -> Zenith-List All times are GMT - 8 Hours
Page 1 of 1

 
Jump to:  
You cannot post new topics in this forum
You cannot reply to topics in this forum
You cannot edit your posts in this forum
You cannot delete your posts in this forum
You cannot vote in polls in this forum
You cannot attach files in this forum
You can download files in this forum


Powered by phpBB © 2001, 2005 phpBB Group