 |
Matronics Email Lists Web Forum Interface to the Matronics Email Lists
|
| View previous topic :: View next topic |
| Author |
Message |
Albert Gardner

Joined: 10 Jan 2006 Posts: 455 Location: Yuma, AZ
|
Posted: Mon Dec 15, 2008 10:35 am Post subject: Electric Rudder Trim |
|
|
I am very pleased with the spring bias rudder trim I installed last summer.
It was easy to fabricate, install, and required no modifications to the
rudder. It has adequate range for high attitude climbs and fast descents.
Beats having to hold rudder pressure for long periods of time. I used the
aileron trim servo kit and installed it just behind the baggage bulkhead
against the bottom skin straddling a stiffener. An additional cable connects
to the rudder horn on one side, wraps around a pulley, to the springs at the
servo and back to the rudder horn on the other side. Pictures available to
any who are interested.
Albert Gardner
Yuma, AZ
| | - The Matronics RV10-List Email Forum - | | | Use the List Feature Navigator to browse the many List utilities available such as the Email Subscriptions page, Archive Search & Download, 7-Day Browse, Chat, FAQ, Photoshare, and much more:
http://www.matronics.com/Navigator?RV10-List |
|
_________________ RV-9A N872RV
RV-10 N991RV |
|
| Back to top |
|
 |
pitts_pilot(at)bellsouth. Guest
|
Posted: Mon Dec 15, 2008 12:14 pm Post subject: Electric Rudder Trim |
|
|
I'd love to see pictures! I've modified my -10 so that the rudder
cables hook to the pedals inside the tunnel, and will add a loop to tie
the rudder pedals together. The trim is the only thing left!
Linn
Albert Gardner wrote:
| Quote: |
I am very pleased with the spring bias rudder trim I installed last summer.
It was easy to fabricate, install, and required no modifications to the
rudder. It has adequate range for high attitude climbs and fast descents.
Beats having to hold rudder pressure for long periods of time. I used the
aileron trim servo kit and installed it just behind the baggage bulkhead
against the bottom skin straddling a stiffener. An additional cable connects
to the rudder horn on one side, wraps around a pulley, to the springs at the
servo and back to the rudder horn on the other side. Pictures available to
any who are interested.
Albert Gardner
Yuma, AZ
|
| | - The Matronics RV10-List Email Forum - | | | Use the List Feature Navigator to browse the many List utilities available such as the Email Subscriptions page, Archive Search & Download, 7-Day Browse, Chat, FAQ, Photoshare, and much more:
http://www.matronics.com/Navigator?RV10-List |
|
|
|
| Back to top |
|
 |
rv(at)thelefflers.com Guest
|
Posted: Mon Dec 15, 2008 12:35 pm Post subject: Electric Rudder Trim |
|
|
You're going to get numerous requests, so please post pictures, parts lists, and instructions.
Inquiring minds want to know......
thansk,
bob
| Quote: |
From: linn Walters <pitts_pilot(at)bellsouth.net>
Date: 2008/12/15 Mon PM 03:13:00 EST
To: rv10-list(at)matronics.com
Subject: Re: Electric Rudder Trim
I'd love to see pictures! I've modified my -10 so that the rudder
cables hook to the pedals inside the tunnel, and will add a loop to tie
the rudder pedals together. The trim is the only thing left!
Linn
Albert Gardner wrote:
>
>
> I am very pleased with the spring bias rudder trim I installed last summer.
> It was easy to fabricate, install, and required no modifications to the
> rudder. It has adequate range for high attitude climbs and fast descents.
> Beats having to hold rudder pressure for long periods of time. I used the
> aileron trim servo kit and installed it just behind the baggage bulkhead
> against the bottom skin straddling a stiffener. An additional cable connects
> to the rudder horn on one side, wraps around a pulley, to the springs at the
> servo and back to the rudder horn on the other side. Pictures available to
> any who are interested.
> Albert Gardner
> Yuma, AZ
>
>
>
>
>
>
>
>
>
|
| | - The Matronics RV10-List Email Forum - | | | Use the List Feature Navigator to browse the many List utilities available such as the Email Subscriptions page, Archive Search & Download, 7-Day Browse, Chat, FAQ, Photoshare, and much more:
http://www.matronics.com/Navigator?RV10-List |
|
|
|
| Back to top |
|
 |
jcumins(at)jcis.net Guest
|
Posted: Mon Dec 15, 2008 3:05 pm Post subject: Electric Rudder Trim |
|
|
Albert
Please send me pics I am very interested in this.
Send them off list if you like.
Thanks
John G. Cumins
President
JC'S Interactive Systems
2499 B1 Martin Rd
Fairfield Ca 94533
707-425-7100
707-425-7576 Fax
Your Total Technology Solution Provider
--
| | - The Matronics RV10-List Email Forum - | | | Use the List Feature Navigator to browse the many List utilities available such as the Email Subscriptions page, Archive Search & Download, 7-Day Browse, Chat, FAQ, Photoshare, and much more:
http://www.matronics.com/Navigator?RV10-List |
|
|
|
| Back to top |
|
 |
jcumins(at)jcis.net Guest
|
Posted: Mon Dec 15, 2008 3:06 pm Post subject: Electric Rudder Trim |
|
|
Linn can you send me pics how you connected the rudder pedals in the tunnel
I very much want to do that on my 10.
thanks
John G. Cumins
President
JC'S Interactive Systems
2499 B1 Martin Rd
Fairfield Ca 94533
707-425-7100
707-425-7576 Fax
Your Total Technology Solution Provider
--
| | - The Matronics RV10-List Email Forum - | | | Use the List Feature Navigator to browse the many List utilities available such as the Email Subscriptions page, Archive Search & Download, 7-Day Browse, Chat, FAQ, Photoshare, and much more:
http://www.matronics.com/Navigator?RV10-List |
|
|
|
| Back to top |
|
 |
pitts_pilot(at)bellsouth. Guest
|
Posted: Mon Dec 15, 2008 9:16 pm Post subject: Electric Rudder Trim |
|
|
I'll try!!!
Linn
John Cumins wrote:
[quote]
Linn can you send me pics how you connected the rudder pedals in the tunnel
I very much want to do that on my 10.
thanks
John G. Cumins
President
JC'S Interactive Systems
2499 B1 Martin Rd
Fairfield Ca 94533
707-425-7100
707-425-7576 Fax
Your Total Technology Solution Provider
--
| | - The Matronics RV10-List Email Forum - | | | Use the List Feature Navigator to browse the many List utilities available such as the Email Subscriptions page, Archive Search & Download, 7-Day Browse, Chat, FAQ, Photoshare, and much more:
http://www.matronics.com/Navigator?RV10-List |
|
|
|
| Back to top |
|
 |
pitts_pilot(at)bellsouth. Guest
|
Posted: Mon Dec 15, 2008 9:25 pm Post subject: Electric Rudder Trim |
|
|
Lemme try again!!!
linn Walters wrote:
| Quote: | I'll try!!!
Linn
John Cumins wrote:
>
>
> Linn can you send me pics how you connected the rudder pedals in the
> tunnel
> I very much want to do that on my 10.
>
> thanks
>
> John G. Cumins
|
| | - The Matronics RV10-List Email Forum - | | | Use the List Feature Navigator to browse the many List utilities available such as the Email Subscriptions page, Archive Search & Download, 7-Day Browse, Chat, FAQ, Photoshare, and much more:
http://www.matronics.com/Navigator?RV10-List |
|
| Description: |
|
| Filesize: |
169.72 KB |
| Viewed: |
289 Time(s) |

|
| Description: |
|
| Filesize: |
182.35 KB |
| Viewed: |
317 Time(s) |

|
|
|
| Back to top |
|
 |
Albert Gardner

Joined: 10 Jan 2006 Posts: 455 Location: Yuma, AZ
|
Posted: Tue Dec 16, 2008 12:36 am Post subject: Electric Rudder Trim |
|
|
I had a lot of requests for pics so I'll post this to the list.
I used the same servo kit that we use in the wing for aileron trim, servo,
springs, assembly etc. I left a 12" gap in the cables for springs just like
in the aileron setup and that seems to produce adequate trim.
The pulley is a 3" dia for 3/32" cable. I put a keeper over the pulley so
the cable couldn't come off but I think it is redundant.
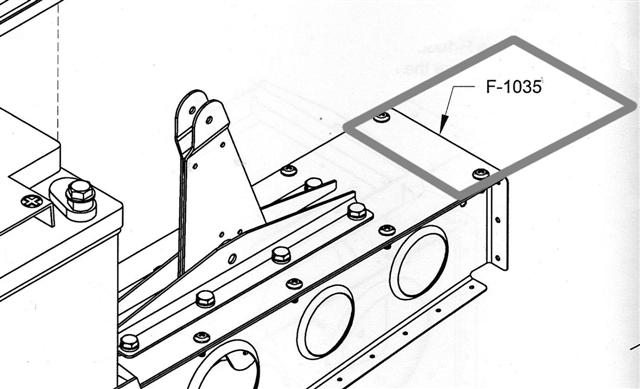
The bracket holding the pulley sits on top of F-1035 and under the elevator
servo mounting bracket see page 10-24 fig 1. I bent a flange on the sides to
make it stiffer.
I installed the pulley bracket and then assembled the MAC servo kit. The
servo and bracket are mounted about midway between the bulkheads and
straddling a stiffener using 4 flat head screws up through the bottom skin.
I used 3/32 7x19 s/s cable with MS20668 Eye Ends. At the rudder horn I used
a longer AN3 bolt and attached the trim cable below the original rudder
cable.
This was actually very easy to install especially if you had thought ahead
and the 5 wire cable was already in place. The dual cables at the rudder
horn aren't too nice but I didn't want to clamp onto the rudder cables
inside the tail cone for some reason. The new cables line up well with the
snap bushings and the original rudder cables. You can easily over-ride the
trim should it be necessary.
Albert Gardner
Yuma, AZ
| | - The Matronics RV10-List Email Forum - | | | Use the List Feature Navigator to browse the many List utilities available such as the Email Subscriptions page, Archive Search & Download, 7-Day Browse, Chat, FAQ, Photoshare, and much more:
http://www.matronics.com/Navigator?RV10-List |
|
| Description: |
|
| Filesize: |
25.59 KB |
| Viewed: |
313 Time(s) |

|
| Description: |
|
| Filesize: |
41.37 KB |
| Viewed: |
289 Time(s) |

|
| Description: |
|
| Filesize: |
36.6 KB |
| Viewed: |
276 Time(s) |

|
| Description: |
|
| Filesize: |
20.17 KB |
| Viewed: |
292 Time(s) |

|
| Description: |
|
| Filesize: |
32.84 KB |
| Viewed: |
306 Time(s) |

|
| Description: |
|
| Filesize: |
19.75 KB |
| Viewed: |
295 Time(s) |

|
| Description: |
|
| Filesize: |
35.17 KB |
| Viewed: |
305 Time(s) |

|
| Description: |
|
| Filesize: |
38.96 KB |
| Viewed: |
299 Time(s) |

|
| Description: |
|
| Filesize: |
30.55 KB |
| Viewed: |
311 Time(s) |

|
_________________ RV-9A N872RV
RV-10 N991RV |
|
| Back to top |
|
 |
|
|
You cannot post new topics in this forum You cannot reply to topics in this forum You cannot edit your posts in this forum You cannot delete your posts in this forum You cannot vote in polls in this forum You cannot attach files in this forum You can download files in this forum
|
Powered by phpBB © 2001, 2005 phpBB Group
|